roleplaying:airship:wilde_karrde
The Wilde Karrde
Tigerfish class
| Handling: Movement: Armour Points: Crew: Resource Space: Range: Fixed Cargo Space: | 8 100 mph 5 50/40 50 1000 miles 50 | Length: Width: Weight: | 106 ft 26 ft 364 tons |
|---|
Resources:
- 20 Small Cannons
- Weapons Locker
- 4 Standard Cabins
- Sick Bay
- Workshop
- 1 Storage area
| Free Cargo Space: Complications: Weapons: Broadside Damage: Health: | 4 None 20 small cannons (10 each side) 100 17 Health Dice |
| | |
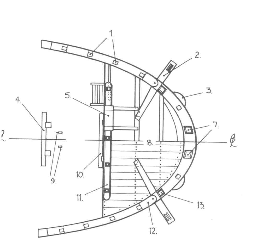
Side View Legend |
| Side View |
|---|
Upper Deck Legend | Lower Deck Legend |
| Upper Deck | Lower Deck |
|---|
roleplaying/airship/wilde_karrde.txt · Last modified: by 127.0.0.1








